卫生站污水处理设备
公司生产的卫生站污水处理设备,卫生院污水处理设备加盟,根据卫生院的规模、性质和处理污水排放去向,进行工艺选择。主要采用的工艺有三种:加强处理效果的一级处理、二级处理和简易生化处理。可埋入地表下,设备上方地表可作为绿化或其他用地,不需要建房及采暖和保温,全自动控制,不需人员管理无污泥回流操作简单,维修方便。即地埋一体化污水处理设备加消毒装置(二氧化氯发生器),处理后的水可以达标排放,并且设备投入较少。因此,小型综合(主要包括城市卫生服务社区、乡镇卫生院)亟需寻求一种资金投入较少、建设周期较短、安全稳妥达标的技术方案(设备)。

卫生站污水处理设备采用生物接触氧化法+二氧化氯发生器工艺,地埋设备具有以下显著特点:
1、填料比表面积大,池内充氧条件良好,生物接触氧化池内单位容积的生物固体量都高于活性污泥法曝气池及生物滤池,具有较高的容积负荷。
2、大部分微生物固着且生长在填料表面,不需要设污泥回流系统,也不存在污泥膨胀问题,污泥产量低,运行管理简便。
3、生物固体量多,水流属完全混合型,对水质水量变化有一定适应能力。
4、生物接触氧化池内微生物在生活污水环境下生长繁殖迅速,间歇性运转启动快,在7~15天即可达到处理效果。
5、生物接触氧化工艺主体构筑物建筑设置为埋地式。 生物接触氧化法运行费用低,占地面积小; 易于维护;
6、抗冲击负荷能力强,运行操作方便,工艺先进,设备材料已成熟化,在运行管理上更具优势,在污水处理工程中得到了广泛的应用。
7、消毒设备的核心反应器采用耐高温耐腐蚀的复合材料制做,设备使用寿命长。反应器设计为多级塔式结构分级加热,主反应器的反应温度高达70℃,即保证了CLO2 的高含量,又提高了原料的转化率。


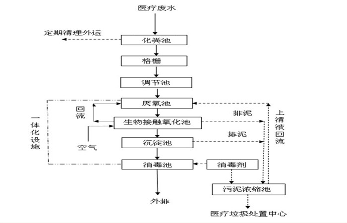
卫生站污水处理设备工艺流程图:


返回首页
电话
产品中心